La tomografía computarizada cone beam (CBCT) se ha convertido en parte integral del campo de la odontología, específicamente en las prácticas de ortodoncia, implantología y cirugía. Tiene una utilidad para la evaluación de la articulación temporomandibular, considerada como e “gold estándar” para la evaluación de las estructuras óseas; sin embargo la resonancia magnética (MRI) es la herramienta de imagen considerada como el “gold estándar” para analizar la posición y morfología de la articulación temporomandibular (ATM), en especial la posición y morfología del disco articular.
La MRI es de mayor utilidad para diagnosticar el desplazamiento del disco en la apertura de la boca, derrames articulares y sinovitis, así como en menor medida erosiones óseas y enfermedad degenerativa de las articulaciones.
Al mismo tiempo, las imágenes CBCT tienen mayor utilidad al momento de evaluar los cambios patológicos de estructuras óseas tales como la erosión del cóndilo, fracturas, anquilosis, dislocación y osteofitos.
El trastorno interno de la ATM se define como la posición anormal del disco articular en relación con la cabeza del cóndilo y la eminencia articular del hueso temporal. En la imagen, el disco se ve mejor en la MRI y el hueso está mejor representado en la CBTC. Por lo tanto, para una mejor evaluación, es conceptualmente ideal fusionar las imágenes de la MRI y CBCT. Una variedad de métodos se han reportado en la literatura para encontrar un método que junte a la MRI Y LA CBCT con valor diagnóstico, basándose en que debe cumplir con dos requisitos fundamentales: contenido de la información de la imagen y la correcta interpretación del observador. Enfoques como el aumento de resolución de la imagen, la calibración de observador, categorización estandarizada y los métodos de evaluación cuantitativos se han introducido para mejorar el valor de diagnóstico y reducir los errores de toma de decisiones.
La fusión de MRI-CBCT da como resultado una imagen híbrida que combina las características más resaltantes de ambas técnicas, son nuevos en odontología, y ésta técnica permite una mejor interpretación, pudiendo detectar con precisión los cambios anatómicos en la región maxilofacial, la ATM y los músculos masticatorios. El valor de la fusión de imágenes de la MRI y la TC se ha investigado con mayor precisión en la literatura médica y se han encontrado resultados muy favorables enfocados a la mejora del diagnóstico, el seguimiento de la patología involucrada en el cerebro y regiones abdominales.
La metodología para lograr fusionar ambas imágenes se basa en dos enfoques. El primero es mediante marcadores en la superficie de la piel para proporcionar puntos tridimensionales de referencia para registrar y fusionar diferentes imágenes. Los marcadores de referencia se realizan con hidrogel (radiopaco) que aparece en las imágenes de la MRI y CBCT, se utilizan en neurocirugía y en la radioterapia, con un alto nivel de precisión de registro de imagen cuando los marcadores se fijan firmemente a los pacientes. La imagen multimodal, segundo enfoque, utilizando la información mutua normalizada de la MRI y de la CBCT, que depende del análisis de correspondencias de la dependencia estadística de dos imágenes en las que una imagen puede ayudar a predecir el otro.
En la actualidad las técnicas de imágenes usadas en la odontología se están volviendo cada vez más complejas, con la aparición de nuevas tecnologías y técnicas de imágenes que buscan acercarse con mayor rapidez al diagnóstico, de las alteraciones maxilofaciales. En esta ocasión nos enfocamos en el análisis de una novedosa metodología que une imágenes de la resonancia magnética (MRI) y las de la tomografía cone vean (CBCT) en el análisis de la articulación temporomandibular. La fusión de imágenes MRI-CBCT mejoran la consistencia entre los examinadores de diferentes niveles de experiencia en la evaluación de la ATM en especial la evaluación
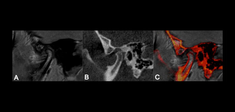
Figura 1. Imagen sagital de la ATM derecha de un paciente con trastorno temporomandibular (a) Resonancia magnética (MRI), muestra leve desplazamiento anterior del disco. (b) Tomografía cone beam (CBCT), muestra aplanamiento de la superficie anterosuperior de la cabeza condilar. (c) Fusión de imagenes CBCT-MR, representa el aplanamiento señaló en imagen CBCT (b) y diferencia-cóndilo temporal contornos óseos procedentes de tejidos del disco articular anotados en la imagen de RM (a).
Fig. 2. Imagen sagital de la fusión de imágenes (RM-CBCT) de la articulación temporomandibular derecha (ATM), muestra excelentes bordes de las superficies articulares de la ATM (cabeza del cóndilo, fosa glenoidea y la eminencia articular) se superponen a 1 píxel.
REFERENCIA:
Al-Saleh MA, Jaremko JL, Alsufyani N, Jibri Z, Lai H. Assessing the reliability of MRI-CBCT image registration to visualize temporomandibular. Dentomaxillofacial Radiology.2015; 44(6): 20140244
Elaborado por : C.D. Luis Alberto Cueva Principe, Mg. Esp. C.D. Andrés Agurto Huerta




