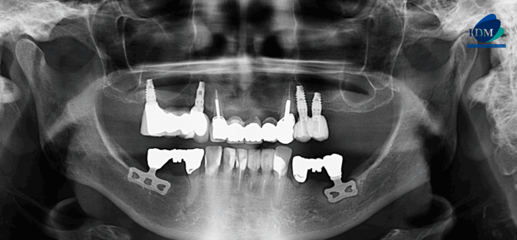
PACIENTE FEMENINO de 81 años acude al Instituto de Diagnóstico Maxilofacial PARA UNA TOMOGRAFÍA para colocación de implantes. A la evaluación de la radiografía panorámica se observa aplanamiento de ambos los contornos condilares, neumatización alveolar de ambos senos maxilares, múltiples piezas con obturación de conductos y coronas protésica, así como la presencia de implantes dentales en el maxilar superior proyectados sobre el piso de seno maxilar, también se observa proceso osteolítico periapical en la pieza 33 y finalmente se observa dos dispositivos metálicos proyectadas en zona de las piezas 36 y 46 compatibles con implantes dentales.
Radiografia Panorámica
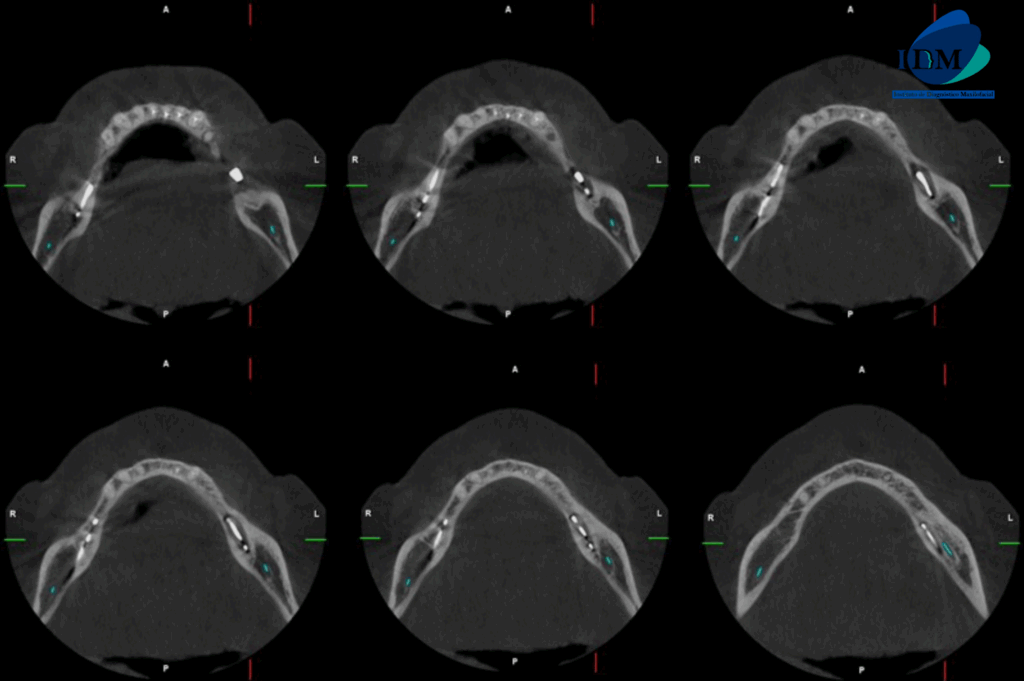
Al observar la tomografía computarizada de campo mediano se puede observar que los implantes en el maxilar inferior son efectivamente de tipo laminares o de lámina perforada, además se puede observar en vistas axiales la presencia de una imagen hipodensa circundante al implante de zona de pieza 36 (flecha azul), en vistas transaxiales y tangenciales se evidencian pérdida de continuidad de tejido óseo en tercio cervical; características que no presenta el implante en zona de pieza 46 (flecha amarilla- vista axial). Signos imagenológicos compatible con perimplantitis.
CORTES AXIALES
CORTES TANGENCIALES
CORTES TRANSAXIALES
RECONSTRUCCIÓN 3D
Parafrisis
Los implantes laminados o también llamados implantes de hoja fueron introducidos por el dentista estadounidense y pionero en el campo de la implantología oral Leonard Linkow en 1968. Los primeros resultados de seguimiento de 2 años fueron presentados por él en 1970. Tienen una forma plana y alargada, con perforaciones que permiten el crecimiento óseo en su interior. Estudios anteriores mostraron que, a pesar de las desventajas, los implantes en hoja seguían funcionando en el largo período de seguimiento. Una de ellas es la publicación de Pasqualini y Pasqualini (2003), quienes informaron una tasa de éxito del 91% a los 10 años para 386 implantes de hoja colocados entre 1971 y 2009. Sin embargo, actualmente ya no son usados por su mala distribución mecánica.
La perimplantitis es la reacción inflamatoria de la mucosa periimplantaria con la pérdida progresiva del hueso de soporte alrededor del implante, que puede ser diagnosticada mediante la medición radiográfica del nivel óseo alveolar, asintomática en ocasiones, y profundidad de sondaje mayor a 4 mm. Otros signos comunes asociados son purulencia, la disminución de la osteointegración del implante y el aumento de la formación de bolsas.
Aunque el principal agente etiológico es la biopelícula, diversos factores influyen en el inicio y progresión de la enfermedad, entre los cuales se pueden mencionar una higiene bucal deficiente, antecedentes de enfermedad periodontal, o enfermedades sistémicas como la diabetes mellitus (DM), así como el tabaquismo.
Bibliografía:
- Martínez-González JM, Cano Sánchez J. Campo Trapero J. MartínezGonzález MJS. García-Sabán F. Diseño de los implantes dentales: Estado actual. Av Periodo n Implantol. 2002; 14,3: 129-136.
- Zhehulovych ZY, Fesenko II, Al-Makhamid NS. Linkows` blade-vent implants continue to work after twenty-nine years: case report. J Diagn Treat Oral Maxillofac Pathol 2018;2(3):118−21.
- Martínez Gómez JC, Hernández-Andara A, Quevedo-Piña M, Ortega-Pertuz AI, Lyn Chong M. Periimplantitis: conceptos actuales sobre su etiología, características clínicas e imagenológicas. Una revision. Rev Cient Odontol (Lima). 2023 Dec 26;10(4):e134.

Dra. Margarita Leando
Especialista en Radiología Oral y Maxilofacial
Cirujana dentista especialista en Radiologia Bucal y Maxilofacial de la Universidad Peruana Cayetano Heredia. Actualmente miembro del Staff de Radiólogos del Instituto de Diagnóstico Maxilofacial - IDM.
Más información



